 |
|
 |
| Mostra argomento precedente :: Mostra argomento successivo |
| Autore |
Messaggio |
LABRADOR utente attivo

Iscritto: 16 Lug 2006 Messaggi: 857 Località: Pordenone
|
|
Vai ad inizio pagina Vai a fine pagina |
|
 |
marcoD80 utente attivo
Iscritto: 03 Dic 2007 Messaggi: 1668
|
Inviato: Mar 27 Ott, 2015 10:44 am Oggetto: |
|
|
| LABRADOR ha scritto: | Si dice che potrebbe avere un sistema AF innovativo:
La luce che passa attraverso lo specchio principale semi-trasmissivo, è riflessa dal grande specchio concavo posto immediatamente prima del sensore di immagine sul retro dello specchio principale, e poi verso il sensore AF, invece di essere riflessa direttamente al sensore AF. Ciò consente lo specchio secondario sia verticale piuttosto che ad angolo, e di avere dimensioni maggiori, perché l'aumento delle dimensioni non si estende verso l'otturatore.
http://egami.blog.so-net.ne.jp/2015-05-13 |
Non è il sistema che adotta sony sulle reflex SLT?
|
|
Vai ad inizio pagina Vai a fine pagina |
|
 |
alebri78 utente
Iscritto: 08 Feb 2015 Messaggi: 106
|
Inviato: Mar 27 Ott, 2015 1:58 pm Oggetto: |
|
|
lo specchio translucido delle Sony A.
la cosa non mi meraviglia, utilizzando un loro sensore utilizzano anche l'af che sulla a77mk2 è di tutto rispetto.
presto vedremo anche le canon con lo specchio translucido, l'utilizzo del sensore porta innegabili vantaggi operativi
_________________
Flick<>500px<>Facebook |
|
Vai ad inizio pagina Vai a fine pagina |
|
 |
LABRADOR utente attivo

Iscritto: 16 Lug 2006 Messaggi: 857 Località: Pordenone
|
Inviato: Mar 27 Ott, 2015 9:11 pm Oggetto: |
|
|
| marcoD80 ha scritto: | | Non è il sistema che adotta sony sulle reflex SLT? |
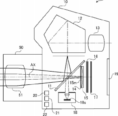
No il brevetto è diverso , il mirino rimane ottico, lo specchio secondario posto dietro lo specchio principale (vedasi figura 1 parte verde barrata) , verrebbe sostituito da uno mobile posto davanti l'otturatore.
| Descrizione: |
|
| Dimensione: |
89.71 KB |
| Visualizzato: |
File visto o scaricato 5526 volta(e) |

|
| Descrizione: |
|
| Dimensione: |
66.62 KB |
| Visualizzato: |
File visto o scaricato 5526 volta(e) |

|
| Descrizione: |
|
| Dimensione: |
25.18 KB |
| Visualizzato: |
File visto o scaricato 5526 volta(e) |

|
_________________ labrador |
|
Vai ad inizio pagina Vai a fine pagina |
|
 |
LABRADOR utente attivo

Iscritto: 16 Lug 2006 Messaggi: 857 Località: Pordenone
|
Inviato: Ven 12 Feb, 2016 5:25 pm Oggetto: |
|
|
Alcune specifiche:
- Sensore da 36.4MP
- Scatto continuo: 6,5 fotogrammi / sec.
- Gamma ISO: 100-204800
- GPS integrato
- Media: SD, SDHC, SDXC
- Dimensioni: 136,5 x 110 x 85,5 millimetri
- Peso: 925g
http://digicame-info.com/2016/02/k-1.html
_________________ labrador |
|
Vai ad inizio pagina Vai a fine pagina |
|
 |
|
|
Non puoi iniziare nuovi argomenti Non puoi rispondere ai messaggi Non puoi modificare i tuoi messaggi Non puoi cancellare i tuoi messaggi Non puoi votare nei sondaggi Non puoi allegare files in questo forum Puoi scaricare gli allegati in questo forum
|
|